亚洲成人国产I亚洲丝袜中文I黄色网大全I天天操天天射天天添I午夜av影院I成年一级片

產品中心

Products

當前位置:首頁>產品中心>分析儀器>瑞士Keller AG>

瑞士Keller AG PD-10L系列壓力傳感器

更新時間:2025-07-26

瀏覽量:1631

  • 品牌:瑞士Keller AG
  • 型號:PD-10L系列
  • 描述:瑞士Keller AG PD-10L系列的壓力傳感器被設計為適合差壓測量。這些OEM壓力傳感器的內部有一個硅膜片,從兩側加壓來直接測量壓差。這種設計使它們能夠測量微小的壓差,即使在極高的管路靜壓下。...
  • 在線訂購
  • 微信咨詢

    QQ咨詢

    在線客服

產品介紹

瑞士Keller AG PD-10L系列壓力傳感器描述:

數據表 用戶手冊

瑞士Keller AG PD-10L系列的壓力傳感器被設計為適合差壓測量。這些OEM壓力傳感器的內部有一個硅膜片,從兩側加壓來直接測量壓差。這種設計使它們能夠測量微小的壓差,即使在極高的管路靜壓下。

管路壓力:200 bar

壓力量程:0…0,1到0…30 bar

精度:± 0,25 %FS

長時間穩定性:± 0,15 %FS

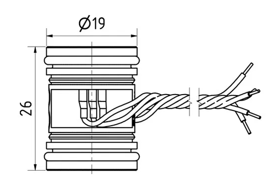
尺寸:? 19 mm x 26 mm

溫度范圍:-40…125 °C

素描

咨詢微信客服

咨詢微信客服

QQ在線客服

客服熱線:

0I0-52867771
I3811111452
I7896005796

技術支持

I7896005796
收起

掃一掃,關注官方賬號

掃一掃,關注官方賬號

010-52867771

在線客服